BTC/HKD-0.85%
ETH/HKD-0.83%
LTC/HKD-1.61%
ADA/HKD-1.24%
SOL/HKD-2.32%
XRP/HKD+0.72% 
本文來自Polygon,星球日報經授權轉載。在這篇文章中,我們深入研究了數據可用性問題的細節以及它如何影響以太坊的擴展。什么是數據可用性問題?
數據可用性問題:區塊鏈網絡中的節點如何確保新提議區塊的所有數據實際上是可用的?如果數據不可用,則該塊可能包含被塊生產者隱藏的惡意交易。舉個例子,假設Alice是ZK-Rollup(ZKR)的運營商。她在以太坊上提交了經過驗證的ZK證明。如果她沒有在以太坊上提交所有交易數據,盡管她的證據證明rollup中進行的所有狀態轉換都是有效的,但rollup的用戶仍然可能對其當前賬戶余額一無所知。由于提交的證明的零知識性質,提交的證明沒有說明當前狀態。OptimisticRollup(OPR)設置中有一個類似的例子,Alice在以太坊上提交了一個斷言,但OPR的任何參與者都不能挑戰它,因為交易數據不可用,因此他們無法重新計算或挑戰該斷言.為了應對上述情況,OPR和ZKR的設計都要求operator將以太坊上的所有交易細節作為“calldata”提交。雖然這使他們在短期內避免了DA問題,但隨著rollup內部交易數量的增長,需要提交的數據量也會增加,從而限制了這些rollup可以提供的擴展量。這對如今的區塊鏈有何影響?
高通CEO安蒙:5G將助力AI擴展,使數據可與其他設備及云端共享:3月25日消息,高通公司總裁兼CEO安蒙在中國發展高層論壇2023年會“推進數字經濟與實體經濟融合”專場上演講稱,5G是實現數字社會的重要基礎設施,此外,5G還將助力AI擴展,為邊緣計算和端側人工智能帶來諸多益處。
安蒙認為,數字化轉型將實現人與萬物智能互聯。這也意味著超高速、可靠連接隨時隨地、始終連接到云端,具有嵌入式處理器和人工智能(AI)的一系列設備,以及數字孿生的普及。(澎湃)[2023/3/25 13:26:29]
為了回答這個問題,讓我們首先回顧一下類似以太坊的區塊鏈的一般區塊結構以及任何區塊鏈網絡上存在的客戶端類型。一個塊可以分為兩個主要部分:?區塊頭:一個小區塊頭包含與區塊中包含的交易相關的摘要和元數據。?塊體:它包含所有交易數據并占塊大小的大部分。在傳統的區塊鏈協議中,所有節點都被視為同步整個區塊并驗證所有狀態轉換的完整節點。所有節點花費大量資源來檢查交易有效性并存儲區塊。從好的方面來說,這些節點不會接受任何無效的交易。可能還有另一類節點沒有資源來驗證每筆交易。相反,他們主要對了解區塊鏈的當前狀態以及與他們相關的某些交易是否包含在鏈中感興趣。這些輕客戶端依靠全節點來檢查所有交易是否有效。因此,在安全性方面,它們依賴于可信的全節點。但是如果區塊生產者沒有透露區塊背后的全部數據呢?這可以防止全節點驗證所有交易。這反過來又阻止了輕節點絕對確定它所看到的由所有合法交易支持的區塊頭。為了解決這個問題,我們需要一種輕客戶端機制來驗證數據可用性。這將確保區塊生產者無法通過說服輕客戶端來隱藏數據。它還將迫使區塊生產者公開部分數據,使整個網絡以協作的方式訪問整個區塊。讓我們借助一個例子更深入地探討這個問題。假設區塊生產者Alice用交易tx1、tx2、……、txn構造了一個區塊B。讓我們假設tx1是惡意交易。如果tx1被廣播,任何完整節點都可以驗證它是惡意的,并將其發送給輕客戶端,輕客戶端會立即知道該塊是不可接受的。但是,如果Alice想隱藏tx1,她會顯示標頭和除tx1之外的所有交易數據。全節點無法驗證tx1的正確性。讓輕節點查詢任意一筆交易,均勻隨機。輕客戶端查詢tx1的概率為1n。因此,Alice能夠以壓倒性的可能性欺騙輕客戶端接受惡意交易。由于不可歸因的性質,全節點無法以任何方式證明tx1不可用。那么,我們該怎么辦呢?
區塊鏈賦能自媒體/多媒體數據可信管理相關國際標準在ITU-T成功立項:2月18日消息,2022年1月17-28日,國際電信聯盟第十六研究組(簡稱ITU-T SG16)召開全體會議,來自中國、美國、英國、韓國、日本等國家和世界衛生組織等國際組織的百余名代表參加了在線會議。由中國信息通信研究院指導,由北京郵電大學牽頭,共同提出的《基于區塊鏈的多媒體數據分發系統參考架構》國際標準項目立項建議獲得通過,這也是國際上首個區塊鏈技術在自媒體/多媒體數據資產共享與管理領域應用的標準。[2022/2/18 10:00:19]
該問題的解決方案在于在塊中引入冗余。總的來說,有大量關于編碼理論的文獻,特別是擦除編碼,可以幫助我們解決這個問題。簡而言之,糾刪碼允許我們將任何n個數據塊擴展為2個數據塊,其中2n個數據塊中的任何一個都足以重建原始數據塊。如果我們強制區塊生產者擦除交易tx1、tx2、...、txn的代碼,然后隱藏單個交易,則需要隱藏n+1個交易,因為任何足以構建整個交易集的交易。在這種情況下,恒定數量的查詢使輕客戶端足以確信底層數據確實可用。哇,原來如此?
貴州世居少數民族藝術大數據可視化網絡傳播平臺啟動建設:金色財經報道,由貴州民族大學美術學院立項申報的世居少數民族藝術大數據可視化網絡傳播平臺啟動建設,項目將歷時3年,以當代科技實現數字化民族藝術的維度感官體驗,將“元宇宙”概念引入數字化民族藝術可視化領域,探索民族文化保護與傳承的新范式與新路徑。[2021/12/27 8:07:43]
不。雖然這個簡單的技巧使隱藏工作變得更加困難,但區塊生產者仍有可能故意以錯誤的方式執行擦除編碼。然而,一個完整的節點可以驗證這個擦除編碼是否正確完成,如果沒有,它可以向輕客戶端證明這一點。這被稱為欺詐證明。有趣的是,輕客戶端需要有一個誠實的全節點鄰居才能確定如果編碼錯誤,那么它將收到欺詐證明。這確保了輕客戶端以極高的概率訪問沒有惡意交易的鏈。但是存在一個問題!如果簡單地實現,欺詐證明的大小可以按照塊本身的大小排序。但我們對輕客戶端的資源預設禁止我們使用這樣的設計。通過使用多維擦除編碼技術,可以在這方面有所改進,該技術以可接受的大小減少欺詐證明的大小。為簡潔起見,我們不涉及這些,但該文獻對其進行了詳細分析。基于欺詐證明的解決方案的問題在于,輕客戶端永遠無法完全確定尚未收到欺詐證明的任何塊。此外,他們一直相信其全節點對等方是誠實的。還需要激勵誠實的節點不斷保持審計區塊。有沒有辦法避免欺詐證明?
聲音 | 金融壹賬通陸一帆:區塊鏈的價值是打破數據孤島 使數據可溯源等:金融壹賬通區塊鏈業務部總經理陸一帆在接受采訪時表示,區塊鏈的價值是打破數據孤島,使數據可溯源、可穿透、可驗證,而不是數據上鏈這個動作本身。數據上鏈后區塊鏈能否產生價值則取決于上鏈的是什么數據,以及上鏈的數據間是否交互并產生價值。目前不少區塊鏈系統面臨的最大挑戰是數據共享和隱私保護之間的矛盾,隱私保護方案如可信計算、哈希上鏈、加密上鏈等方案都避重就輕,價值數據既不能上鏈、更不能打通,自然無法實現數據網絡價值。最終導致大多數區塊鏈只能搞存證,確實沒什么價值,也應該被質疑。[2020/1/20]
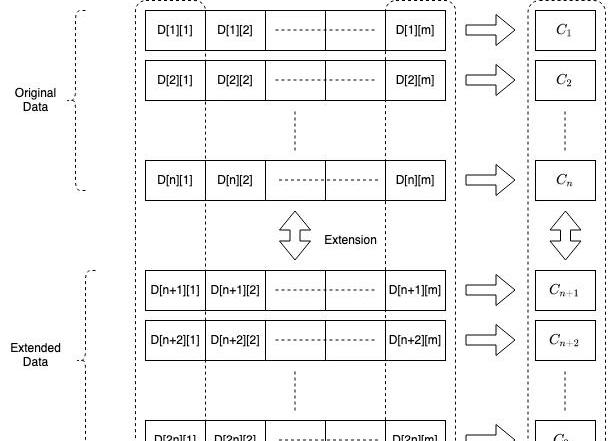
最近,向量承諾重新引起了區塊鏈領域的關注。這些向量承諾,尤其是對多項式的恒定大小的KZG/Kate承諾,可用于設計簡潔的DA方案,而無需欺詐證明。簡而言之,Kate承諾允許我們使用單個組元素提交多項式。此外,該方案支持我們證明在某個點i使用恒定大小的見證,多項式評估為。承諾方案在計算上是隱藏和綁定的,也是同態的,使我們能夠巧妙地避免欺詐證明。我們強制塊生產者獲取原始交易數據并將其排列在大小為n,m的二維矩陣中。它使用多項式插值將大小為n的每一列擴展為大小為2n的列。對于這個擴展矩陣的每一行,它都會生成一個多項式承諾,并將這些承諾作為區塊頭的一部分發送。下面給出了該塊的示意圖。輕客戶端查詢這個擴展矩陣的任何單元格以獲得見證,這使它能夠立即根據塊頭驗證它。恒定大小的成員證明使抽樣非常有效。承諾的同態性質確保只有在正確構造塊的情況下才驗證證明,并且多項式插值確保成功樣本的恒定數量意味著數據以非常高的概率可用。
聲音 | ALabs負責人王增新:改進后的零知識證明是解決數據可用性問題的可行方案:今日,在日本東京舉辦的SmartBlock2018國際學術會議上,區塊鏈研究院ALabs負責人王增新做了關于區塊鏈安全隱私及擴展性的學術分享,他認為數據可用性問題是區塊鏈廣泛應用的瓶頸,改進后的零知識證明是解決數據可用性問題的可行方案,即將共識的復雜程度降低到對數級別,提高數據的交換與驗證效率。ALabs將圍繞這個方向進行探索,推動區塊鏈行業應用發展。 SmartBlock2018國際學術峰會由Springer、早稻田大學、哥倫比亞大學、北京理工大學、伯明翰城市大學等頂尖學術院校聯合主辦,會議圍繞前沿科技趨勢進行探討,包括人工智能、大數據、區塊鏈等前沿技術,數百名學術大拿及企業高管出席活動。[2018/12/11]

該方案的更精細細節以及進一步的優化和成本估算超出了本文的范圍。其他選擇是什么,以及進一步變更是什么?
更高維的擦除代碼和Kate承諾并不是解決DA問題的唯一方法。我們在這里跳過了其他方法,如編碼默克爾樹、編碼交錯樹、基于FRI和STARK的方法,但每種方法都有其優點和缺點。我們在Polygon,一直在使用Kate承諾開發數據可用性解決方案。在后面的文章中,我們將介紹實現細節、您現在可以如何使用它以及我們如何致力于轉變DA問題空間。
Odaily星球日報譯者|念銀思唐 摘要: -在過去的12個月里,印度加密貨幣交易所的日均交易額增長了近900%;-投資者蜂擁而至,然而監管者對未來給出了相互矛盾的信號.
1900/1/1 0:00:00本文轉自MintVentures,研究員:許瀟鵬;星球日報經授權轉載第三節Defi藍籌的護城河 1.何謂護城河? 護城河是價值投資理論的重要概念之一.
1900/1/1 0:00:007月13日,標普道瓊斯指數(S&PDJI)宣布推出新的標普加密貨幣廣泛數字市場(BDM)指數。BDM代表著加密貨幣市場表現的快照,涵蓋240余種加密貨幣.
1900/1/1 0:00:00Layer2.financev1.0版本測試網今天正式上線!這也是我們layer2.finance從v0.1升級到v1.0的最后一步.
1900/1/1 0:00:00收錄于話題#每日期權播報 播報數據由Greeks.live格致數據實驗室和Deribit官網提供。0625是今年的第二次季度交割,今年經歷了強勁上漲的第一季度和過山車一樣的第二季度.
1900/1/1 0:00:00Odaily星球日報譯者|Moni 加密貨幣交易所之間的競爭非常激烈,在相當長時間里,一種經營策略這個“狂野世界”中似乎從未奏效,即——擁抱監管。但現在,情況似乎有所不同了.
1900/1/1 0:00:00